Crosby Eliminator




- Forged Alloy Steel – Quenched and Tempered.
- Innovative two piece design allows for maximum flexibility.
- Individually Proof Tested with certification.
- The Crosby ELIMINATOR®, if properly installed and locked, can be used for personnel lifting applications and meets the intent of OSHA Rule 1926.1431(g)(1)(i)(A) and 26.1501(g)(4)(iv)(B).
- Suitable for use with Grade 100 and Grade 80 chain.
- Engineered to accommodate optional locking pins that can be inserted to “lock” the shortened chain legs into place.
- Fatigue rated at 1-1/2 times the Working Load Limit at 20,000 cycles.
- Use the A-1361 and A-1362 in combination to make 3 leg chain slings.
- Load pin assembly instructions on page 269.
- “Look for the Platinum Color – Crosby Grade 100 Alloy Products.”
- All sizes are RFID EQUIPPED.
A-1361 Crosby ELIMINATOR® Single Hook
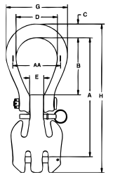
| Chain Size | Frame Size | Working Load Limit (lbs) | A-1362 stock number | Weight LBS | Dimensions (in.) | ||||||||
| (in.) | (mm) | A | B | C | D | E | G | H | AA | ||||
| 1/4″ | 7 | 2 | 4300 | 1049797 | 3.9 | 8.2 | 3.88 | 0.9 | 3 | 0.94 | 4.4 | 9.78 | 3.5 |
| 5/16″ | 8 | 2 | 5700 | 1049804 | 3.9 | 8.18 | 3.88 | 0.9 | 3 | 0.94 | 4.4 | 9.78 | 3.5 |
| 3/8″ | 10 | 3 | 8800 | 1049813 | 6.5 | 10.05 | 4.81 | 1.16 | 3.5 | 1.13 | 5.2 | 12.06 | 4 |
| 1/2″ | 13 | 4 | 15000 | 1049822 | 13.5 | 12.55 | 6 | 1.63 | 4.13 | 1.31 | 6.39 | 15.57 | 5 |
| 5/8″ | 16 | 5 | 22600 | 1049831 | 24.1 | 15.26 | 6.88 | 1.96 | 4.75 | 1.63 | 7.41 | 18.58 | 6 |
A-1362 Crosby ELIMINATOR®Double Hook
| Chain Size | Frame Size | Working Load Limit (lbs) | A-1362 stock number | Weight LBS | Dimensions (in.) | ||||||||
| (in.) | (mm) | A | B | C | D | E | G | H | AA | ||||
| 1/4″ | 7 | 2 | 8600 | 1049859 | 4.7 | 8.2 | 3.88 | 0.9 | 3 | 0.94 | 4.4 | 10.1 | 3.5 |
| 5/16″ | 8 | 2 | 11400 | 1049968 | 4.7 | 8.18 | 3.88 | 0.9 | 3 | 0.94 | 4.4 | 10.1 | 3.5 |
| 3/8″ | 10 | 3 | 17600 | 1049877 | 8.1 | 10.05 | 4.81 | 1.16 | 3.5 | 1.13 | 5.2 | 12.56 | 4 |
| 1/2″ | 13 | 4 | 30000 | 1049886 | 17.3 | 12.55 | 6 | 1.63 | 4.13 | 1.31 | 6.39 | 16.25 | 5 |
| 5/8″ | 16 | 5 | 45200 | 1049895 | 31.5 | 15.26 | 6.88 | 1.96 | 4.75 | 1.63 | 7.41 | 19.33 | 6 |